■真鍮製で最大耐圧21Mpa。油圧・空圧等の用途に。
◎コストパフォーマンスに優れた高圧ボールバルブ。
◎使用温度: -20°Cから+80°Cまで。
◎使用圧力:210バール(図参照)。
◎流体範囲:オイル・石油・石油化学製品。
◎継手はISO 7/1の仕様に準拠したネジ式エンド。
◎サイズは3/8”〜1”。
開閉トルク Nm
| サイズ | DN10 | DN15 | DN20 | DN25 |
| 3/8" | 1/2" | 3/4" | 1" | |
| PN 210 bar | 7 | 11 | 15 | 20 |
CV値(Kv値より換算)
| サイズ | DN10 | DN15 | DN20 | DN25 |
| 3/8" | 1/2" | 3/4" | 1" | |
| KV | 4.15 | 9.35 | 16.2 | 27.7 |
| CV | 3.58975 | 8.08775 | 14.013 | 23.9605 |
圧力温度曲線
Kv値
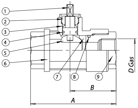
部品素材
| ① | ステム* | 真鍮 | EN 12164 CW614N |
| ② | グランドナット* | 真鍮 | EN 12164 CW614N |
| ③ | ステムシール | P.T.F.E. | |
| ④ | ステムO-リング | FKM | |
| ⑤ | ボール | 真鍮クロームメッキ | EN 12164 CW614N |
| ⑥ | ボディ* | 真鍮 | EN 12165 CW617N |
| ⑦ | ボールシール | アセタール樹脂 | |
| ⑧ | ボディエンドOリング | FKM | |
| ⑨ | ネジエンド | 真鍮 | EN 12165 CW617N |
※表面処理:ニッケルメッキ